
|
設計與制造
|
GB/T12235
|
|
|
連接端尺寸
|
結構長度
|
GB/T12221
|
|
法蘭尺寸
|
JB/T79
|
|
|
檢驗與試驗
|
JB/T9092
|
|
|
材 料
|
碳鋼
|
GB/T12229
|
|
不銹鋼
|
GB/T12230
|
|
|
合金鋼
|
Q/ZB66
|
|
|
標 志
|
GB/T12220
|
|
|
供 貨
|
JB/T7928結構特點
|
|
|
閥體
|
閥蓋
|
閥瓣
|
密封圈
|
閥桿
|
填料
|
適用介質
|
適用溫度
(≤℃) |
|
WCB
|
WCB+D507MO
|
D577
|
2Crl3
|
柔性石墨
|
水、油品、蒸汽
|
425
|
|
|
ZGlCrl8Ni9Ti
|
0Crl8Ni9Ti
Stellite12 |
Stellite6
|
lCrl8Ni9Ti
|
PTFE
|
硝酸類
|
200
|
|
|
ZGlCrl8Ni2Mo2Ti
|
CF8M
Stellite12 |
lCrl8Ni2Mo2Ti
|
lCrl8Ni2Mo2Ti
|
PTFE
|
磷酸類、
堿類、混酸 |
200
|
|
|
ZG00Crl7Nil4M02
|
CF3M
Stellite12 |
Stel1ite6
|
316L
|
PTFE
|
磷酸類、
尿素、甲銨液 |
200
|
|
|
ZGlCr5MO
|
ZGlCr5MO
Stellite12 |
Stel1ite6
|
25Cr2Mo1VA
|
柔性石墨
|
水、油品、蒸汽
|
550
|
|
|
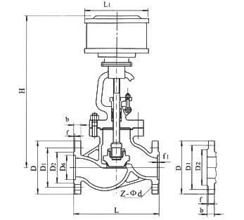
公稱壓力
PN(MPa) |
公稱通徑
DN(mm) |
標準值
|
參考值
|
|||||||||
|
L
|
D
|
D1
|
n2
|
D6
|
b
|
f
|
f1
|
Z-φd
|
L1
|
H
|
||
|
1.6
|
50
|
230
|
160
|
125
|
100
|
|
16
|
3
|
|
4-φ18
|
185
|
645
|
|
65
|
290
|
180
|
145
|
120
|
|
18
|
3
|
|
4-φ18
|
232
|
690
|
|
|
80
|
310
|
195
|
160
|
135
|
|
20
|
3
|
|
8-φ18
|
232
|
715
|
|
|
100
|
350
|
215
|
180
|
155
|
|
20
|
3
|
|
8-φ18
|
232
|
770
|
|
|
125
|
400
|
254
|
210
|
185
|
|
22
|
3
|
|
8-φ18
|
283
|
780
|
|
|
150
|
480
|
280
|
240
|
210
|
|
24
|
3
|
|
8-φ23
|
283
|
810
|
|
|
200
|
600
|
335
|
295
|
265
|
|
26
|
3
|
|
12-φ23
|
283
|
967
|
|
|
250
|
622
|
405
|
355
|
320
|
|
30
|
3
|
|
12-φ25
|
283
|
1143
|
|
|
300
|
698
|
460
|
410
|
375
|
|
30
|
4
|
|
12-φ25
|
283
|
1292
|
|
|
2.5
|
50
|
230
|
160
|
125
|
100
|
|
20
|
3
|
|
4-φ18
|
185
|
645
|
|
65
|
290
|
180
|
145
|
120
|
|
22
|
3
|
|
8-φ18
|
232
|
690
|
|
|
80
|
310
|
195
|
160
|
135
|
|
22
|
3
|
|
8-φ18
|
232
|
715
|
|
|
100
|
350
|
230
|
190
|
160
|
|
24
|
3
|
|
8-φ23
|
232
|
770
|
|
|
125
|
400
|
270
|
220
|
188
|
|
28
|
3
|
|
8-φ25
|
283
|
780
|
|
|
150
|
480
|
300
|
250
|
218
|
|
30
|
3
|
|
8-φ25
|
283
|
810
|
|
|
200
|
600
|
360
|
310
|
278
|
|
34
|
3
|
|
12-φ25
|
283
|
967
|
|
|
250
|
622
|
425
|
370
|
332
|
|
36
|
3
|
|
12-φ30
|
283
|
1143
|
|
|
300
|
698
|
485
|
430
|
390
|
|
40
|
4
|
|
16-φ30
|
283
|
1292
|
|
|
4.0
|
50
|
230
|
160
|
125
|
100
|
88
|
20
|
3
|
4
|
4-φ18
|
185
|
645
|
|
65
|
290
|
180
|
145
|
120
|
110
|
22
|
3
|
4
|
8-φ18
|
232
|
690
|
|
|
80
|
310
|
195
|
160
|
135
|
121
|
22
|
3
|
4
|
8-φ18
|
232
|
715
|
|
|
100
|
350
|
230
|
190
|
160
|
150
|
24
|
3
|
4.5
|
8-φ23
|
232
|
770
|
|
|
125
|
400
|
270
|
220
|
188
|
176
|
28
|
3
|
4.5
|
8-φ25
|
283
|
782
|
|
|
150
|
480
|
300
|
250
|
218
|
204
|
30
|
3
|
4.5
|
8-φ25
|
283
|
875
|
|
|
200
|
600
|
375
|
320
|
282
|
260
|
38
|
3
|
4.5
|
12-φ30
|
283
|
1160
|
|
Copyright ??溫州不銹鋼閥門生產廠家 版權所有 浙ICP備19023523號-2
全國服務電話:13250886677 ? 傳真:0577-28850989
公司地址:溫州市龍灣區濱海工業區通海2路 ? 網站地圖 ? 不銹鋼閥門廠家
溫州不銹鋼閥門公司專業生產不銹鋼閥門,氣動調節閥,減壓閥,電動閥門,對夾式蝶閥,隔膜閥,電動球閥,截止閥,電磁閥,閘閥,,角座閥,手動閥,平衡閥,法蘭管件系列,板式平焊法蘭,帯頸對焊法蘭,螺紋法蘭,帯頸平焊法蘭,整體法蘭,承插焊法蘭,松套法蘭,法蘭蓋,不銹鋼截止閥,氣動法蘭球閥,電磁隔膜閥,平衡減壓閥,調節閘閥廠家,彎頭,三通,四通,大小頭,異徑接頭,無縫管,焊管等各種管道配件的研發和生產,為公司未來努力開拓發展,歡迎來電咨詢。